Mexen Rico WC misa stojaca Rimless s doskou pomaly klesajucou slim, duroplast, čierna matná - 32724085
^ array:2 [
  "external" => array:1 [
    "adyen-component-js" => array:7 [
      "id" => "adyen-component-js"
      "type" => "external"
      "path" => "https://mexen.sk"
      "uri" => "https://mexen.sk"
      "priority" => 50
      "attribute" => ""
      "server" => "remote"
    ]
  ]
  "inline" => []
]

Mexen Rico WC misa stojaca Rimless s doskou pomaly klesajucou slim, duroplast, čierna matná - 32724085

Mexen Rico WC misa stojaca Rimless s doskou pomaly klesajucou slim, duroplast, čierna matná - 32724085
search
  • Mexen Rico WC misa stojaca Rimless s doskou pomaly klesajucou slim, duroplast, čierna matná - 32724085
  • Mexen Rico WC misa stojaca Rimless s doskou pomaly klesajucou slim, duroplast, čierna matná - 32724085
Mexen Rico WC misa stojaca Rimless s doskou pomaly klesajucou slim, duroplast, čierna matná - 32724085
Mexen Rico WC misa stojaca Rimless s doskou pomaly klesajucou slim, duroplast, čierna matná - 32724085 Mexen Rico WC misa stojaca Rimless s doskou pomaly klesajucou slim, duroplast, čierna matná - 32724085
Keramika+ Keramika+
Bez okrajov Bez okrajov
Duroplast Duroplast
Značka:
Seria:
Ean:
5905315983800
Index:
32724085
Farba - Čierna - ()
Povrch - Matný - ()

Mexen Rico WC misa stojaca Rimless s doskou pomaly klesajucou slim, duroplast, čierna matná - 32724085

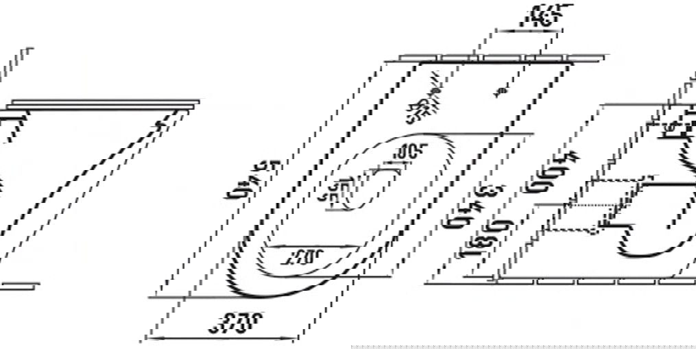
Špecifikácia produktu:

Veľkosť: 54x37x40 cm

Montáž: Stojacia

Systém splachovania: Rimless (bezokrajový)

Farba: Čierna matná

Materiál: Sanitárna keramika

Typ dosky: Pomalý sklz

Farba: Čierna matná

Materiál: Duroplast

Verzia slim: Áno

Jednoduché odpojenie: Áno

Kovové pánty: Áno

Inovatívne riešenia používané v tomto produkte

Keramika+

Produkt bol vyrobený z keramiky najvyššej kvality. Vyznačuje sa rezistenciou na hrdzu, chemikálie a vysoké hygienické vlastnosti. Je to nielen trvanlivé, ale aj ľahké čistenie.

Bez okrajov

Technológia Limen umožňuje presné rozdelenie vody okolo vnútra toaletnej misky, ktorá prispieva k efektívnemu oplachovaniu. Systém bez okrajov vám umožňuje udržať toaletu čistú a eliminovať bakteriálny rast.

Duroplast

Duoplastové dosky sa vyznačujú vysokou pevnosťou a odporom voči poškodeniu a dennému opotrebeniu. Použitie Duroplast vám umožňuje dlhú dobu voľne používať a udržiavať estetiku produktu.

Pomaly vykazovanie dosky

Pomalá doska na upevnenie bola vybavená špeciálnym systémom, ktorý bráni jeho rýchlemu a náhlemu pádu. Systém efektívne eliminuje problém zabitia a minimalizuje hluk, čím sa zabezpečuje hladké a tiché uzavretie záchodu.

Ľahké odlúčenie

Systém Easy Boarding uľahčuje udržiavanie perfektnej čistoty a vysokej hygieny na záchode. Vďaka tomu sa pravidelné umývanie dosiek a ťažko dosahujú miesta okolo nej oveľa jednoduchšie a pohodlnejšie.

Pokaziť

Tenká doska s extrémne ergonomickým tvarom a extrémne tenkým vzhľadom. Dizajn sa dokonale prispôsobuje modernému interiéru kúpeľne, čo vyvoláva dojem ľahkosti. Vynikajúca voľba pre minimalistické usporiadanie.

Kovové pánty

Sada obsahuje tuhé kovové pánty, ktoré zaručujú stabilné upevnenie dosky na toaletnú misku. Toto je praktické riešenie, ktoré vám umožňuje ľahko prispôsobiť dosku tvaru a rozmerom záchodu, čím sa zabezpečuje pohodlie použitia.

Rohož

Matný povrch keramiky dokonale zdôrazňuje povahu farby produktu, čo jej dáva jedinečný a výrazný povrch. Jemná štruktúra matnej keramiky predstavuje eleganciu do kúpeľne a vytvára estetický priestor.

Ochrana UV

Produkt sa vyznačuje vysokým odporom voči zmenám teploty a UV žiarením. Farba nezmení a nezmizne pod vplyvom slnečného žiarenia, vďaka čomu sa jej vzhľad užíva po dlhú dobu, bez ohľadu na podmienky.

Odpor

Povrch produktu je odolný voči rohoži a zachováva si jeho jedinečný lesk po mnoho rokov používania za predpokladu, že správna starostlivosť. Pravidelné čistenie poskytuje estetický vzhľad a trvanlivosť produktu.

Perfektný

Produkt má hladký povrch, ktorý ohromuje svojou nádherou a zdôrazňuje estetický vzhľad. Každodenná starostlivosť a čistenie povrchov z výsledných nečistôt je oveľa jednoduchšia a nevyžaduje použitie silných detergentov.

2 roky záruka

Na produkt sa vzťahuje dvojročná záruka. V prípade problémov s zakúpeným produktom vás odporúčame, aby ste nás kontaktovali prostredníctvom kontaktného formulára alebo telefonicky na číslo horúcej linky.

Sériový
Dĺžka
54 cm
Šírka
37 cm
Výška
40 cm
Farba
Povrch
Matný
Tvar
Bez goliera
Montáž
Ochranný povlak
Systém splachovania
Rimless
Záručné podmienky
Výrobca

Nenašli ste odpoveď?

Napíš nám

Produkt zatiaľ nemá názor. Nechajte svoj názor!

Mexen Rico WC misa stojaca Rimless s doskou pomaly klesajucou slim, duroplast, čierna matná - 32724085

Mexen Rico WC misa stojaca Rimless s doskou pomaly klesajucou slim, duroplast, čierna matná - 32724085

Katalógová cena: 342,30 €

273,89 € (s DPH)

Lacnejšie68,41 €

19,99%

Najnižšia cena za posledných 30 dní: 273,89 €

Keramika+ Keramika+
Bez okrajov Bez okrajov
Duroplast Duroplast
Značka:
Seria:
Ean:
5905315983800
Index:
32724085
Farba - Čierna - ()
Povrch - Matný - ()
^ array:2 [
  "external" => array:57 [
    "corejs" => array:7 [
      "id" => "corejs"
      "type" => "external"
      "path" => "https://mexen.sk/themes/core.js"
      "uri" => "https://mexen.sk/themes/core.js"
      "priority" => 0
      "attribute" => ""
      "server" => "remote"
    ]
    "theme-runtime" => array:7 [
      "id" => "theme-runtime"
      "type" => "external"
      "path" => "https://mexen.sk"
      "uri" => "https://mexen.sk"
      "priority" => 1
      "attribute" => ""
      "server" => "remote"
    ]
    "theme-swipervendor" => array:7 [
      "id" => "theme-swipervendor"
      "type" => "external"
      "path" => "https://mexen.sk/themes/falcon/assets/js/swipervendor.js"
      "uri" => "https://mexen.sk/themes/falcon/assets/js/swipervendor.js"
      "priority" => 1
      "attribute" => ""
      "server" => "remote"
    ]
    "modules-pdpinterestpixeltracking-front" => array:7 [
      "id" => "modules-pdpinterestpixeltracking-front"
      "type" => "external"
      "path" => "https://mexen.sk/themes/falcon/modules/pdpinterestpixeltracking/views/js/scripts_17.js"
      "uri" => "https://mexen.sk/themes/falcon/modules/pdpinterestpixeltracking/views/js/scripts_17.js"
      "priority" => 1
      "attribute" => ""
      "server" => "remote"
    ]
    "jquery-ui" => array:7 [
      "id" => "jquery-ui"
      "type" => "external"
      "path" => "https://mexen.sk/js/jquery/ui/jquery-ui.min.js"
      "uri" => "https://mexen.sk/js/jquery/ui/jquery-ui.min.js"
      "priority" => 49
      "attribute" => ""
      "server" => "remote"
    ]
    "theme-main" => array:7 [
      "id" => "theme-main"
      "type" => "external"
      "path" => "https://mexen.sk/themes/falcon/assets/js/theme.js"
      "uri" => "https://mexen.sk/themes/falcon/assets/js/theme.js"
      "priority" => 50
      "attribute" => ""
      "server" => "remote"
    ]
    "front-js" => array:7 [
      "id" => "front-js"
      "type" => "external"
      "path" => "https://mexen.sk/modules/blockreassurance/views/dist/front.js"
      "uri" => "https://mexen.sk/modules/blockreassurance/views/dist/front.js"
      "priority" => 50
      "attribute" => ""
      "server" => "remote"
    ]
    "modules-psemailsubscription" => array:7 [
      "id" => "modules-psemailsubscription"
      "type" => "external"
      "path" => "https://mexen.sk/modules/ps_emailsubscription/views/js/ps_emailsubscription.js"
      "uri" => "https://mexen.sk/modules/ps_emailsubscription/views/js/ps_emailsubscription.js"
      "priority" => 50
      "attribute" => ""
      "server" => "remote"
    ]
    "mailalerts-js" => array:7 [
      "id" => "mailalerts-js"
      "type" => "external"
      "path" => "https://mexen.sk/themes/falcon/modules/ps_emailalerts/js/mailalerts.js"
      "uri" => "https://mexen.sk/themes/falcon/modules/ps_emailalerts/js/mailalerts.js"
      "priority" => 50
      "attribute" => ""
      "server" => "remote"
    ]
    "p24-script-inside" => array:7 [
      "id" => "p24-script-inside"
      "type" => "external"
      "path" => "https://mexen.sk/modules/przelewy24/views/js/p24_inside.js"
      "uri" => "https://mexen.sk/modules/przelewy24/views/js/p24_inside.js"
      "priority" => 50
      "attribute" => ""
      "server" => "remote"
    ]
    "p24-script-common" => array:7 [
      "id" => "p24-script-common"
      "type" => "external"
      "path" => "https://mexen.sk/modules/przelewy24/views/js/przelewy24Common.js"
      "uri" => "https://mexen.sk/modules/przelewy24/views/js/przelewy24Common.js"
      "priority" => 50
      "attribute" => ""
      "server" => "remote"
    ]
    "payu-js" => array:7 [
      "id" => "payu-js"
      "type" => "external"
      "path" => "https://mexen.sk/modules/payu/js/payu17.js"
      "uri" => "https://mexen.sk/modules/payu/js/payu17.js"
      "priority" => 50
      "attribute" => ""
      "server" => "remote"
    ]
    "ec5e2d2f4a58ac906d2c99a7aba2c512de86bd87" => array:7 [
      "id" => "ec5e2d2f4a58ac906d2c99a7aba2c512de86bd87"
      "type" => "external"
      "path" => "https://mexen.sk/modules/facebookconversiontrackingplus/views/js/events.js"
      "uri" => "https://mexen.sk/modules/facebookconversiontrackingplus/views/js/events.js"
      "priority" => 80
      "attribute" => ""
      "server" => "remote"
    ]
    "af58fb7945b30a5fc4dab0e3f308d9d946b57734" => array:7 [
      "id" => "af58fb7945b30a5fc4dab0e3f308d9d946b57734"
      "type" => "external"
      "path" => "https://mexen.sk/modules/adyenofficial/views/js/front/adyen-product-express-checkout.js"
      "uri" => "https://mexen.sk/modules/adyenofficial/views/js/front/adyen-product-express-checkout.js"
      "priority" => 80
      "attribute" => ""
      "server" => "remote"
    ]
    "40324f6bd2b2c27fcddaf455ddbd4fbe0eace026" => array:7 [
      "id" => "40324f6bd2b2c27fcddaf455ddbd4fbe0eace026"
      "type" => "external"
      "path" => "https://mexen.sk/modules/adyenofficial/views/js/front/adyen-wallets-service.js"
      "uri" => "https://mexen.sk/modules/adyenofficial/views/js/front/adyen-wallets-service.js"
      "priority" => 80
      "attribute" => ""
      "server" => "remote"
    ]
    "e63d14d12ea508a62c173717a73b09391f4a7c2a" => array:7 [
      "id" => "e63d14d12ea508a62c173717a73b09391f4a7c2a"
      "type" => "external"
      "path" => "https://mexen.sk/modules/adyenofficial/views/js/front/adyen-checkout-controller.js"
      "uri" => "https://mexen.sk/modules/adyenofficial/views/js/front/adyen-checkout-controller.js"
      "priority" => 80
      "attribute" => ""
      "server" => "remote"
    ]
    "27e5ba8465ba66c21c0a8ed5835ee4da37f6ca16" => array:7 [
      "id" => "27e5ba8465ba66c21c0a8ed5835ee4da37f6ca16"
      "type" => "external"
      "path" => "https://mexen.sk/modules/adyenofficial/views/js/front/adyen-payment-additional-action.js"
      "uri" => "https://mexen.sk/modules/adyenofficial/views/js/front/adyen-payment-additional-action.js"
      "priority" => 80
      "attribute" => ""
      "server" => "remote"
    ]
    "a21fd9c7406730ff77e15acac075218055320b50" => array:7 [
      "id" => "a21fd9c7406730ff77e15acac075218055320b50"
      "type" => "external"
      "path" => "https://mexen.sk/modules/ph_simpleblog/js/jquery.fitvids.js"
      "uri" => "https://mexen.sk/modules/ph_simpleblog/js/jquery.fitvids.js"
      "priority" => 80
      "attribute" => ""
      "server" => "remote"
    ]
    "a5b8d595764f33918a1d68bad830e9fe1c3a480a" => array:7 [
      "id" => "a5b8d595764f33918a1d68bad830e9fe1c3a480a"
      "type" => "external"
      "path" => "https://mexen.sk/modules/ets_megamenu/views/js/megamenu.js"
      "uri" => "https://mexen.sk/modules/ets_megamenu/views/js/megamenu.js"
      "priority" => 80
      "attribute" => ""
      "server" => "remote"
    ]
    "969f0bf4a5e0dc9f6f1aeb2c3ca213e8ff6904ce" => array:7 [
      "id" => "969f0bf4a5e0dc9f6f1aeb2c3ca213e8ff6904ce"
      "type" => "external"
      "path" => "https://mexen.sk/modules/tpay/views/js/main.min.js"
      "uri" => "https://mexen.sk/modules/tpay/views/js/main.min.js"
      "priority" => 80
      "attribute" => ""
      "server" => "remote"
    ]
    "2b7bddc05e8fec8fd1a70b08aab493ad7f1a8bc2" => array:7 [
      "id" => "2b7bddc05e8fec8fd1a70b08aab493ad7f1a8bc2"
      "type" => "external"
      "path" => "https://mexen.sk/modules/tooltips/lib/tooltipster/js/tooltipster.bundle.min.js"
      "uri" => "https://mexen.sk/modules/tooltips/lib/tooltipster/js/tooltipster.bundle.min.js"
      "priority" => 80
      "attribute" => ""
      "server" => "remote"
    ]
    "e15a7fd7011ef841ba8d874878596f8e26a1d814" => array:7 [
      "id" => "e15a7fd7011ef841ba8d874878596f8e26a1d814"
      "type" => "external"
      "path" => "https://mexen.sk/modules/tooltips/views/js/tooltips.js"
      "uri" => "https://mexen.sk/modules/tooltips/views/js/tooltips.js"
      "priority" => 80
      "attribute" => ""
      "server" => "remote"
    ]
    "2be523990f9410fbf1520b75a30699d34151451e" => array:7 [
      "id" => "2be523990f9410fbf1520b75a30699d34151451e"
      "type" => "external"
      "path" => "https://mexen.sk/themes/falcon/modules/aapfree/views/aapfree.js"
      "uri" => "https://mexen.sk/themes/falcon/modules/aapfree/views/aapfree.js"
      "priority" => 80
      "attribute" => ""
      "server" => "remote"
    ]
    "1c962c5d828e72fa6bb0fb91ea4a814d5e38104b" => array:7 [
      "id" => "1c962c5d828e72fa6bb0fb91ea4a814d5e38104b"
      "type" => "external"
      "path" => "https://mexen.sk/modules/vatchecker/views/js/front.js"
      "uri" => "https://mexen.sk/modules/vatchecker/views/js/front.js"
      "priority" => 80
      "attribute" => ""
      "server" => "remote"
    ]
    "6f9e05af0994ba3a7177b57ccea010aeef471bfb" => array:7 [
      "id" => "6f9e05af0994ba3a7177b57ccea010aeef471bfb"
      "type" => "external"
      "path" => "https://mexen.sk/modules/ets_promotion/views/js/front.js"
      "uri" => "https://mexen.sk/modules/ets_promotion/views/js/front.js"
      "priority" => 80
      "attribute" => ""
      "server" => "remote"
    ]
    "037601c9dbf5297e76b498c82c4992c4690a2080" => array:7 [
      "id" => "037601c9dbf5297e76b498c82c4992c4690a2080"
      "type" => "external"
      "path" => "https://mexen.sk/modules/ets_promotion/views/js/jquery.countdown.min.js"
      "uri" => "https://mexen.sk/modules/ets_promotion/views/js/jquery.countdown.min.js"
      "priority" => 80
      "attribute" => ""
      "server" => "remote"
    ]
    "5d49e842c3f848046f9f10a300f25a3b9629e0f4" => array:7 [
      "id" => "5d49e842c3f848046f9f10a300f25a3b9629e0f4"
      "type" => "external"
      "path" => "https://mexen.sk/modules/ets_promotion/views/js/clock.js"
      "uri" => "https://mexen.sk/modules/ets_promotion/views/js/clock.js"
      "priority" => 80
      "attribute" => ""
      "server" => "remote"
    ]
    "db14f557b8ddd01f23e1f839c9402405695c59fc" => array:7 [
      "id" => "db14f557b8ddd01f23e1f839c9402405695c59fc"
      "type" => "external"
      "path" => "https://mexen.sk/modules/pixel_tiktoktracking/views/js/pixel_tiktoktracking.js"
      "uri" => "https://mexen.sk/modules/pixel_tiktoktracking/views/js/pixel_tiktoktracking.js"
      "priority" => 80
      "attribute" => ""
      "server" => "remote"
    ]
    "cdff9867e8340c7b5dfcc82bb7185fec0c8a0fd7" => array:7 [
      "id" => "cdff9867e8340c7b5dfcc82bb7185fec0c8a0fd7"
      "type" => "external"
      "path" => "https://mexen.sk/modules/pixel_producthistory/views/js/pixel_producthistory.js"
      "uri" => "https://mexen.sk/modules/pixel_producthistory/views/js/pixel_producthistory.js"
      "priority" => 80
      "attribute" => ""
      "server" => "remote"
    ]
    "e7669587a88566d7c8a386864261ec5b8db60994" => array:7 [
      "id" => "e7669587a88566d7c8a386864261ec5b8db60994"
      "type" => "external"
      "path" => "https://mexen.sk/modules/ets_reviews/views/js/slick.js"
      "uri" => "https://mexen.sk/modules/ets_reviews/views/js/slick.js"
      "priority" => 80
      "attribute" => ""
      "server" => "remote"
    ]
    "ba02d6458d1f6d45a33b1781e1369b16a36bab45" => array:7 [
      "id" => "ba02d6458d1f6d45a33b1781e1369b16a36bab45"
      "type" => "external"
      "path" => "https://mexen.sk/modules/ets_reviews/views/js/modal.js"
      "uri" => "https://mexen.sk/modules/ets_reviews/views/js/modal.js"
      "priority" => 80
      "attribute" => ""
      "server" => "remote"
    ]
    "b408d6fdaf881f5b1a01145d4714be697a82d631" => array:7 [
      "id" => "b408d6fdaf881f5b1a01145d4714be697a82d631"
      "type" => "external"
      "path" => "https://mexen.sk/js/jquery/plugins/growl/jquery.growl.js"
      "uri" => "https://mexen.sk/js/jquery/plugins/growl/jquery.growl.js"
      "priority" => 80
      "attribute" => ""
      "server" => "remote"
    ]
    "6cfbb7387c3bd9764014a5efa581f87934e6eba1" => array:7 [
      "id" => "6cfbb7387c3bd9764014a5efa581f87934e6eba1"
      "type" => "external"
      "path" => "https://mexen.sk/js/jquery/plugins/fancybox/jquery.fancybox.js"
      "uri" => "https://mexen.sk/js/jquery/plugins/fancybox/jquery.fancybox.js"
      "priority" => 80
      "attribute" => ""
      "server" => "remote"
    ]
    "a0b748808474deddc7edabd7fb3cbec14a41c476" => array:7 [
      "id" => "a0b748808474deddc7edabd7fb3cbec14a41c476"
      "type" => "external"
      "path" => "https://mexen.sk/modules/ets_reviews/views/js/jquery.rating.plugin.js"
      "uri" => "https://mexen.sk/modules/ets_reviews/views/js/jquery.rating.plugin.js"
      "priority" => 80
      "attribute" => ""
      "server" => "remote"
    ]
    "bd3523585ace8158c0c2dc6c0251906acf6cc3a8" => array:7 [
      "id" => "bd3523585ace8158c0c2dc6c0251906acf6cc3a8"
      "type" => "external"
      "path" => "https://mexen.sk/modules/ets_reviews/views/js/function.js"
      "uri" => "https://mexen.sk/modules/ets_reviews/views/js/function.js"
      "priority" => 80
      "attribute" => ""
      "server" => "remote"
    ]
    "45e140e9169a5b17625bbab28424b9ef1a897320" => array:7 [
      "id" => "45e140e9169a5b17625bbab28424b9ef1a897320"
      "type" => "external"
      "path" => "https://mexen.sk/modules/ets_reviews/views/js/list-comments.js"
      "uri" => "https://mexen.sk/modules/ets_reviews/views/js/list-comments.js"
      "priority" => 80
      "attribute" => ""
      "server" => "remote"
    ]
    "68d1f8c1ff4c3641b607dd710bddcb2075addb8c" => array:7 [
      "id" => "68d1f8c1ff4c3641b607dd710bddcb2075addb8c"
      "type" => "external"
      "path" => "https://mexen.sk/modules/ets_reviews/views/js/front.js"
      "uri" => "https://mexen.sk/modules/ets_reviews/views/js/front.js"
      "priority" => 80
      "attribute" => ""
      "server" => "remote"
    ]
    "234fe24f2793c7599e27358b12abe700c56c7be4" => array:7 [
      "id" => "234fe24f2793c7599e27358b12abe700c56c7be4"
      "type" => "external"
      "path" => "https://mexen.sk/modules/deliverycountdown/views/js/deliverycountdown.js"
      "uri" => "https://mexen.sk/modules/deliverycountdown/views/js/deliverycountdown.js"
      "priority" => 80
      "attribute" => ""
      "server" => "remote"
    ]
    "module-cdproductcomparisonplusjquery-print" => array:7 [
      "id" => "module-cdproductcomparisonplusjquery-print"
      "type" => "external"
      "path" => "https://mexen.sk/modules/cdproductcomparisonplus/views/js/jquery.print.js"
      "uri" => "https://mexen.sk/modules/cdproductcomparisonplus/views/js/jquery.print.js"
      "priority" => 100
      "attribute" => ""
      "server" => "remote"
    ]
    "growl/jquery.growl.js" => array:7 [
      "id" => "growl/jquery.growl.js"
      "type" => "external"
      "path" => "https://mexen.sk/js/jquery/plugins/growl/jquery.growl.js"
      "uri" => "https://mexen.sk/js/jquery/plugins/growl/jquery.growl.js"
      "priority" => 100
      "attribute" => ""
      "server" => "remote"
    ]
    "fancybox/jquery.fancybox.js" => array:7 [
      "id" => "fancybox/jquery.fancybox.js"
      "type" => "external"
      "path" => "https://mexen.sk/js/jquery/plugins/fancybox/jquery.fancybox.js"
      "uri" => "https://mexen.sk/js/jquery/plugins/fancybox/jquery.fancybox.js"
      "priority" => 100
      "attribute" => ""
      "server" => "remote"
    ]
    "module-cdproductcomparisonplusfront" => array:7 [
      "id" => "module-cdproductcomparisonplusfront"
      "type" => "external"
      "path" => "https://mexen.sk/modules/cdproductcomparisonplus/views/js/cdpcp-front.js"
      "uri" => "https://mexen.sk/modules/cdproductcomparisonplus/views/js/cdpcp-front.js"
      "priority" => 102
      "attribute" => ""
      "server" => "remote"
    ]
    "modules-searchbar" => array:7 [
      "id" => "modules-searchbar"
      "type" => "external"
      "path" => "https://mexen.sk/modules/ps_searchbar/ps_searchbar.js"
      "uri" => "https://mexen.sk/modules/ps_searchbar/ps_searchbar.js"
      "priority" => 150
      "attribute" => ""
      "server" => "remote"
    ]
    "faqs_front" => array:7 [
      "id" => "faqs_front"
      "type" => "external"
      "path" => "https://mexen.sk/modules/faqs/views/js/faq.js"
      "uri" => "https://mexen.sk/modules/faqs/views/js/faq.js"
      "priority" => 150
      "attribute" => ""
      "server" => "remote"
    ]
    "faqs_form" => array:7 [
      "id" => "faqs_form"
      "type" => "external"
      "path" => "https://mexen.sk/modules/faqs/views/js/faqs_form.js"
      "uri" => "https://mexen.sk/modules/faqs/views/js/faqs_form.js"
      "priority" => 150
      "attribute" => ""
      "server" => "remote"
    ]
    "faqs_slick_js" => array:7 [
      "id" => "faqs_slick_js"
      "type" => "external"
      "path" => "https://mexen.sk/modules/faqs/libraries/slick/slick.js"
      "uri" => "https://mexen.sk/modules/faqs/libraries/slick/slick.js"
      "priority" => 150
      "attribute" => ""
      "server" => "remote"
    ]
    "modules-phsimpleblog" => array:7 [
      "id" => "modules-phsimpleblog"
      "type" => "external"
      "path" => "https://mexen.sk/modules/ph_simpleblog/views/js/ph_simpleblog-17.js"
      "uri" => "https://mexen.sk/modules/ph_simpleblog/views/js/ph_simpleblog-17.js"
      "priority" => 150
      "attribute" => ""
      "server" => "remote"
    ]
    "modules-phsimpleblog-masonry" => array:7 [
      "id" => "modules-phsimpleblog-masonry"
      "type" => "external"
      "path" => "https://mexen.sk/modules/ph_simpleblog/js/masonry.pkgd.min.js"
      "uri" => "https://mexen.sk/modules/ph_simpleblog/js/masonry.pkgd.min.js"
      "priority" => 150
      "attribute" => ""
      "server" => "remote"
    ]
    "module-pixel_tracking" => array:7 [
      "id" => "module-pixel_tracking"
      "type" => "external"
      "path" => "https://mexen.sk/modules/pixel_tracking/views/js/pixel_tracking.js"
      "uri" => "https://mexen.sk/modules/pixel_tracking/views/js/pixel_tracking.js"
      "priority" => 150
      "attribute" => ""
      "server" => "remote"
    ]
    "modules-x13favoriteproduct-toastify" => array:7 [
      "id" => "modules-x13favoriteproduct-toastify"
      "type" => "external"
      "path" => "https://mexen.sk/modules/x13favoriteproduct/views/js/plugins/toastify.js"
      "uri" => "https://mexen.sk/modules/x13favoriteproduct/views/js/plugins/toastify.js"
      "priority" => 150
      "attribute" => ""
      "server" => "remote"
    ]
    "modules-x13infobar-countdown" => array:7 [
      "id" => "modules-x13infobar-countdown"
      "type" => "external"
      "path" => "https://mexen.sk/modules/x13infobar/views/js/countdown.js"
      "uri" => "https://mexen.sk/modules/x13infobar/views/js/countdown.js"
      "priority" => 150
      "attribute" => ""
      "server" => "remote"
    ]
    "modules-x13infobar" => array:7 [
      "id" => "modules-x13infobar"
      "type" => "external"
      "path" => "https://mexen.sk/modules/x13infobar/views/js/front.js"
      "uri" => "https://mexen.sk/modules/x13infobar/views/js/front.js"
      "priority" => 150
      "attribute" => ""
      "server" => "remote"
    ]
    "modules-x13favoriteproduct" => array:7 [
      "id" => "modules-x13favoriteproduct"
      "type" => "external"
      "path" => "https://mexen.sk/modules/x13favoriteproduct/views/js/front.js"
      "uri" => "https://mexen.sk/modules/x13favoriteproduct/views/js/front.js"
      "priority" => 160
      "attribute" => ""
      "server" => "remote"
    ]
    "module-simattrs-js" => array:7 [
      "id" => "module-simattrs-js"
      "type" => "external"
      "path" => "https://mexen.sk/modules/simattrs/simattrs.js"
      "uri" => "https://mexen.sk/modules/simattrs/simattrs.js"
      "priority" => 200
      "attribute" => ""
      "server" => "remote"
    ]
    "theme-product" => array:7 [
      "id" => "theme-product"
      "type" => "external"
      "path" => "https://mexen.sk/themes/falcon/assets/js/product.js"
      "uri" => "https://mexen.sk/themes/falcon/assets/js/product.js"
      "priority" => 200
      "attribute" => ""
      "server" => "remote"
    ]
    "module-cdproductcomparisonplussharer" => array:7 [
      "id" => "module-cdproductcomparisonplussharer"
      "type" => "external"
      "path" => "https://mexen.sk/modules/cdproductcomparisonplus/views/js/sharer.js"
      "uri" => "https://mexen.sk/modules/cdproductcomparisonplus/views/js/sharer.js"
      "priority" => 200
      "attribute" => ""
      "server" => "remote"
    ]
    "theme-custom" => array:7 [
      "id" => "theme-custom"
      "type" => "external"
      "path" => "https://mexen.sk"
      "uri" => "https://mexen.sk"
      "priority" => 1000
      "attribute" => ""
      "server" => "remote"
    ]
  ]
  "inline" => []
]
Načítanie ...